产品概述
随着液体水处理需要过滤的介质越来越复杂,如半导体研磨/切割废水、垃圾渗滤液、强腐蚀性废水、高温料液,或需要频繁高强度消毒的生化/制药产品时等使用比常规超滤膜(PVDF/PES)已经难以满足工艺和产水要求。我们将PTFE做成外压式中空纤维超滤膜,来针对高悬浮物、高污染、高腐蚀、高温或高卫生标准等极端液体过滤工况而设计的解决方案。
PTFE外压式中空纤维超滤膜的核心优势不在于初始通量或价格,而在于 “几乎洗不坏”的耐用性和“几乎什么都敢洗”的清洗能力,从而在恶劣环境下实现稳定的长期运行和更低的全生命周期成本。解决传统膜面临的“污堵快、洗不净、易化学损伤”的难题。

显著优势
极端环境适用性:可在其他膜材料无法承受的苛刻化学和高温条件下长期稳定工作,拓宽了膜技术的应用边界。
高通量与长寿命:高孔隙率和疏水性保证了高的气体或蒸汽通量,同时其卓越的耐化学性和抗污染性极大地延长了膜的使用寿命,全生命周期成本可能更低。
高分离精度与可靠性:在气液分离领域,其强疏水性可有效防止“液泛”,确保分离过程稳定、高效、可靠。低维护成本:抗污染性强,清洗周期长,且可采用化学清洗、高温消毒等多种强力清洗方式而不损伤膜本身。
安全卫生:本身无毒、生物相容性好,且表面不沾,易于保持清洁,适用于食品、医药等高卫生要求领域。
应用场景
PTFE外压式中空纤维超滤膜并非用于普通的市政自来水处理,而是定位于高难度、高附加值的特种分离领域,是解决行业痛点的“撒手锏”级产品。主要应用包括:
半导体研磨/切割废水:高悬浮物极容易造成断膜丝。PTFE膜良好的机械强度和一定的柔韧性,“几乎洗不坏和不断丝的”优势极大地延长了膜的使用寿命,全生命周期成本可能更低。
垃圾渗滤液:成分极端复杂,高COD、高盐分、高硬度、强生物毒性。常规超滤膜极易污堵且难以清洗。PTFE膜能耐受强酸碱清洗和氧化剂清洗,是深度处理前预处理的理想选择。
煤化工、石化废水:含油、酚类、溶剂等难降解有机物。PTFE膜可以用溶剂清洗去除油污。
酸洗废液、电镀废水:强酸、含重金属离子。PTFE膜的化学稳定性使其成为安全可靠的浓缩过滤介质。
作为RO/NF的预处理:在海水淡化或高盐废水反渗透前,使用PTFE超滤作为绝对安全的屏障。
病毒疫苗生产:对无菌和消毒要求极高,PTFE膜可耐受频繁的NaOH+NaClO在位清洗(CIP)和蒸汽在位消毒(SIP)。
酒类、果汁、醋的冷除菌与澄清:PTFE膜的惰性保证了产品风味不受影响,且能承受强效清洗剂(如CIP清洗)。
强腐蚀性化学品过滤:在化工生产过程中,用于过滤高浓度酸、碱、氧化剂等液体,去除其中颗粒杂质,而膜本身安全无损。
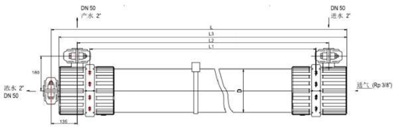
1 UF-2860FR-T 膜组件结构尺寸

组件长度 L | mm | 1860 | 两端抱夹间距离 L1 | mm | 1500 |
组件外径 D | mm | 225 | 进出接口间距离 L2 | mm | 1630 |
接口外直径 | 2"Victualic | 两端端头间距离 L3 | mm | 1820 |
2 UF-2860FR-T 膜组件性能参数
a 膜丝参数 | |||
膜材料 | PTFE | 膜形式 | 外压式中空纤维 |
平均孔径 | 0.1μm(可定制0.03-0.05μm) | 膜丝内/外径 | 1.0/1.7mm |
b 组件参数 | |||
膜壳材料 | UPVC | 端盖材料 | UPVC |
端盖抱箍材料 | 304 不锈钢 | 密封圈材料 | EPDM 橡胶 |
端盖连接方式 | 不锈钢抱箍连接 | 接口连接方式 | 拷贝林连接 |
组件湿重 | 85kg | 组件水容积 | 35L |
进水压力 | ≤6.25Bar | 过膜压差 | ≤2.1Bar |
最高使用温度 | 40℃ | 最大进水浊度 | 50NTU |
膜组件面积 | 50m2 | ||
c 出水水质 | |||
浊度 | ≤0. 1NTU | 产水 SDI15 | ≤2.5 |
3 UF-2860FR-T 膜组件的使用条件
3.1 建议使用条件
pH范围 | 正常运行时1-14 |
最大进水浊度 | 50 NTU |
过滤通量范围 | 40~120 L/m2.h.bar 25℃(根据进水条件选定) |
最高使用温度 | 40℃ |
化学清洗时最大NaClO浓度 | ≤5000 mg/L |
运行方式 | 全流或错流过滤 |
3.2 典型清洗工艺条件
反洗 | 常规反洗 | 反洗频率 | 每隔20~60分钟一次(视具体水源) |
反洗时间 | 每次30~120秒 | ||
反洗透水速率 | 100~150 L/m2.h | ||
最大反洗压力 | 2.5bar | ||
加药药剂 | ≤20ppmNaCLO溶液(有效氯计) | ||
反洗频率 | 每隔24小时一次(视具体水源) | ||
反洗时间 | ≤20分钟 | ||
加强反洗 | 加药药剂 | 酸洗:0. 1%HCl, pH2 (视具体水质情况可适当增减) | |
气擦洗条件 | 膜组件最大进气压力 | ≤ 1 bar | |
单支膜组件进气量 | 5~12Nm3/hr | ||
气洗时间 | 每次20~60秒 | ||
气源要求 | 无油压缩空气 | ||
化学清洗 | 清洗频率 | 标准化跨膜压差上升1.0bar,或者标准化产水量下降25%,且通过常规反洗或化学加强反洗仍不能恢复到理想效果时,或者运行跨膜压差升至最大2. 1bar时 | |
化学清洗时间 | 60~90 分钟 (污染严重时可适当延长) | ||
化学清洗药剂 | 酸洗:1~2%的柠檬酸,或 1~2%草酸或者 0.2%HCl (pH2) | ||
清洗流量 | 1.5-2.0m3/h·每支膜组件 | ||
清洗液温度 | 10~40℃(较高温度利于提高清洗效率) | ||
4 UF-2860FR-T 膜组件保存条件
膜组件贮存注意事项 | |
膜组件存放 | 贮存温度5~40℃ , 推荐最佳贮存环境温度为 20~35℃; |
暂不安装使用的膜组件,应堆放在远离冷、热源室内的平整、清洁的地面,周围环境无腐蚀与污染物 | |
将膜组件尽可能一直保存在原始的包装内,在满足以上贮存条件下,未开封的新膜组件保存时间可到 1 年。 | |
成套装置停运注意事项 | |
系统停运注意事项 | 当超滤系统需要停机时,必须考虑和采用周全的保护措施,可让系统高忱无忧。当系统必须停运 48 小时以上时,必须注意:
超滤系统不作任何防止微生物生长保护措施的最长停运时间为 24 小时,如果无法做到每隔 24 小时运行一次或者反洗一次,但又必须停运 7 天以上时,必须采用化学药剂进行封存,以防止生物滋生导致的污染。 |
客户须知
华淼沁超滤膜支持定制,平替各大品牌超滤膜,同时提供系统的应用解决方案和售后维护。大力鼓励客户立足于人类健康和环境质量,确保产品不用于预定或测试用途之外的用途。我们可解答您的问题,并提供合理的技术支持。在使用我们的产品之前,应先查看产品说明(包括注意事项)。华淼沁提供最新的产品数据表,并致力于提高产品的使用周期和效益,降低客户运行成本。
返回列表